
SAJK...C,C/B1,C/B2
Description
Can supply other rod ends with different pitch or accuracy of thread.
For left-hand thread, suffix “L”is added to bearings number and thread sign, e.g. SALJK20C M20x1.5L- -6g.
The rod and inner ring of the bearings is of stainless steel and the mark of the items has a letter“X” .That is . SAJK...C/X..
Dimension and Parameters
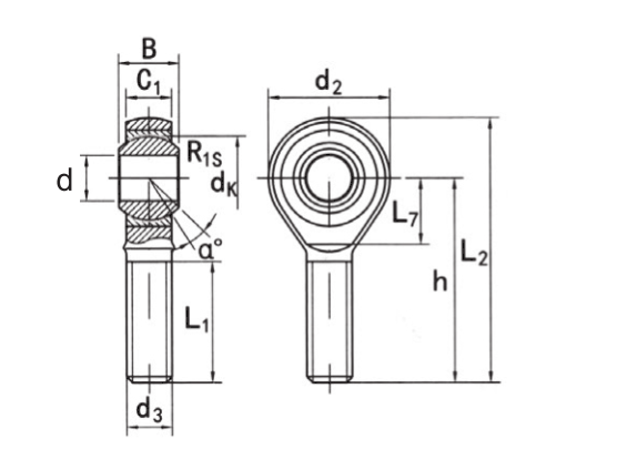
Bearing number
Bearing number :SAJK18C
Dimension mm
d :18
d3
6g :M18x1.5
B :23
C1 :16.5
L1
min :41
d2 :44
L7
min :22
h :72
L2 :94
dk :31.75
r1s :0.3
a :15
load rating kN
dynamic load :42.5
static load :47.5
Weight
kg :0.28